Údržba přepákování
Re: Údržba přepákování
Zdravím pánové, jak jsou rozměry těch ložisek ?
Online
Přejít na web motopripravky.cz
- Radek
- Administrátor
- Příspěvky: 2622
- Registrován: pát 14. bře 2008 17:58:00
- Napiš "660" bez uvozovek: 505
- Bydliště: Teplice
- Kontaktovat uživatele:
Sdělení od administrátora
Zdar,
vím, že to je trochu mimo téma, ale hosting je třeba z něčeho platit
. Rád bych vám představil web motopripravky.cz, kde najdete naše moto nářadí vlastní výroby. Vyrábíme např. vyvažovačky kol, zouvačky, narážeče gufer předních vidlic (XT660 má rozměr 43 mm), klíče na zadní tlumiče a spoustu dalšího.
Návštěvníci fóra XT660 mohou použít slevový kód 54115079 na 5 % z ceny dolů.
vím, že to je trochu mimo téma, ale hosting je třeba z něčeho platit
Návštěvníci fóra XT660 mohou použít slevový kód 54115079 na 5 % z ceny dolů.
Přejít na web motopripravky.cz
Re: Údržba přepákování
ty ve vidlici jsou 22x28x20
Re: Údržba přepákování
Zdravím pane,
díky za rozměr ložiska. Nemáš ještě rozměry ložisek a gufer přepákování ?
díky za rozměr ložiska. Nemáš ještě rozměry ložisek a gufer přepákování ?
Re: Údržba přepákování
mám to doma komplet rozebraný a vylisovaný .. tak odpoledne kouknu, změřím a dám vědět
Re: Údržba přepákování
ložiska v přepákování:
20x27x25 2ks
17x24x20 1ks
gufera
20x27x6 4ks
17x24x4 2ks
ložiska v kyvce:
22x28x20 2ks
20x27x25 1ks
20x27x25 2ks
17x24x20 1ks
gufera
20x27x6 4ks
17x24x4 2ks
ložiska v kyvce:
22x28x20 2ks
20x27x25 1ks
Re: Údržba přepákování
To jsou velmi potřebné a užitečné informace. Ještě jednou díky.
Re: Údržba přepákování
môžeš dať aj širšie kde sú 2ks v trojuholníku aj do kyvky, do TTR som tak dával o 5mm a boli aj lacnejšie
Re: Údržba přepákování
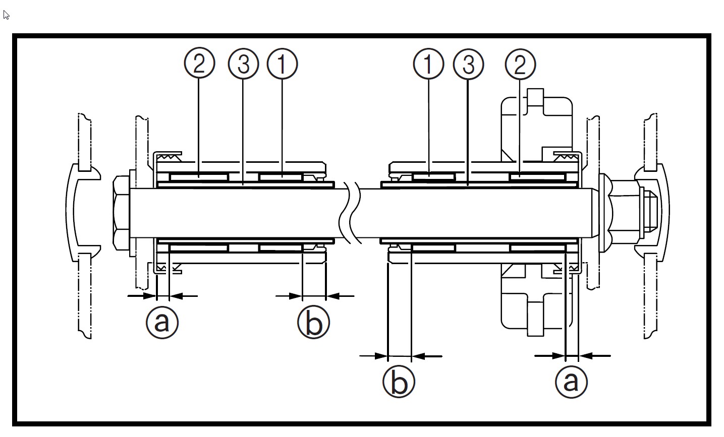
.. napadlo mě, že bych do kyvky nalisoval vždy 2 a 2 ložiska namísto 2 ložisek a 2 futer ..
proč si myslíte, že je tam vždy kombinace ložisko+futro na každé straně ?
poz. 2 jsou jehlová ložiska
poz.1 jsou futra ..
přemýšlím, že bych tam dal pouze 4x ložiska poz.2 místo futer.
napadá Vás , že by to mohlo způsobovat nějaký problém ?
dík
š.
proč si myslíte, že je tam vždy kombinace ložisko+futro na každé straně ?
poz. 2 jsou jehlová ložiska
poz.1 jsou futra ..
přemýšlím, že bych tam dal pouze 4x ložiska poz.2 místo futer.
napadá Vás , že by to mohlo způsobovat nějaký problém ?
dík
š.
Re: Údržba přepákování
A ty máš problém s únosností ložisek v kyvce? Pokud jsou OK těsnění (hlavně teda ty u kóty A v tvým obrázku), tak není důvod k výměně. Viděl bych problém v tom, že se to může, vlivem výrobních nepřesností, začít křížit.
A proto bych se spíš ptal, jak sestavit přepákování tak, aby se mi ty zpropadený vnější těsnící kroužky z těch krycích kalíšků nevysouvali ven a netekla mi voda přímo do ložisek. Pravdou je, že jsem loni koupil ložiska do kyvky jako sadu z Wemoto a jejich výrobky bych přirovnal spíš ke Starline. Je originál lepší?
A proto bych se spíš ptal, jak sestavit přepákování tak, aby se mi ty zpropadený vnější těsnící kroužky z těch krycích kalíšků nevysouvali ven a netekla mi voda přímo do ložisek. Pravdou je, že jsem loni koupil ložiska do kyvky jako sadu z Wemoto a jejich výrobky bych přirovnal spíš ke Starline. Je originál lepší?
Re: Údržba přepákování
... ložiska jsem koupil normálně u prodejce ložisek .. a jsou to přesně ty co tam dává Yamaha origo .. firma NTN .. akorát teda nestojí 750,- ale 75,-
-- wemoto dodává ložiska od americké firmy ALL BALLS .. a jaká je jejich kvalita nevím .. ale proč bych je kupoval, když jsou dražší (cca 250,-) než se dají sehnat ty NTN
sehnal jsem gufero 22x28x4 od rubeny a dám ho ještě pod tu misku (jak je kóta A) .. přesně se tam vejde a myslím, že to ničemu neuškodí .. spíš naopak a cena cca 15kč/ks mě taky nezrujnuje
.. jinak ohledně toho těsnění .. chápu dobře, že podle drážek by mělo docházet k pohybu mezi těsněním a miskou .. takže přemýšlím, že bych to těsnění přilepil na tu kyvku ..
sehnal jsem gufero 22x28x4 od rubeny a dám ho ještě pod tu misku (jak je kóta A) .. přesně se tam vejde a myslím, že to ničemu neuškodí .. spíš naopak a cena cca 15kč/ks mě taky nezrujnuje
.. jinak ohledně toho těsnění .. chápu dobře, že podle drážek by mělo docházet k pohybu mezi těsněním a miskou .. takže přemýšlím, že bych to těsnění přilepil na tu kyvku ..
-
koficz@seznam.cz
- Příspěvky: 6
- Registrován: stř 05. pro 2018 22:51:02
- Bydliště: Senomaty
Re: Údržba přepákování
Řešil někdo z vás vetsi vůli v uložení na přepakovani ?? Objednal jsem si nové válečky uložení a ten středně dlouhý má stejný vakl jako původní .. šrouby mají 11,9mm a uložení jsou 12, 12,1 , akorát toto jedno má 12,8 i u nového dílu , přijde mi že po složení má kyvka vakl nahoru dolů na tu délku pomalu centimetr což mi přijde hodně .. jedná se o tenere
Re: Údržba přepákování
Kde si objednával válečky uložení a za kolik?koficz@seznam.cz píše: ↑pát 15. úno 2019 10:29:49Řešil někdo z vás vetsi vůli v uložení na přepakovani ?? Objednal jsem si nové válečky uložení a ten středně dlouhý má stejný vakl jako původní .. šrouby mají 11,9mm a uložení jsou 12, 12,1 , akorát toto jedno má 12,8 i u nového dílu , přijde mi že po složení má kyvka vakl nahoru dolů na tu délku pomalu centimetr což mi přijde hodně .. jedná se o tenere
Měnil někdo místo celých ložisek jen ty jehličky vevnitř? případně jaký mají rozměr...moje už jsou trochu vychozené do placata..
Kdo je online
Uživatelé prohlížející si toto fórum: Žádní registrovaní uživatelé a 59 hostů